Bezpečné upevnění Balení šestihranných šroubů je navrženo tak, aby je udržovalo organizované a zabránilo se poškození. Tyto obalové krabice jsou dodávány s měkkou podšívkou, která má vestavěné štěrbiny. Šrouby v nich sedí hlavou k hlavě, takže každý šestihranný šroub zůstane na místě. Díky tomu je lze rychle vybrat a umístit a zabránit jakémukoli poškrábání při přepravě. Pro hromadnou přepravu jsou šestihranné šrouby často baleny po 500 kusech v pytli. Tyto vaky se pak vkládají do vnitřních krabic a vyztužených dřevěných pouzder, aby byl náklad stabilní. Pro kritická průmyslová odvětví mohou vysoce specifické možnosti balení splňovat přísné vojenské normy. To může zahrnovat utěsněné, mastné a vodotěsné sáčky, které chrání šrouby před korozí během skladování a přepravy.
Stupeň na šestihranném šroubu ukazuje jeho sílu. Tato označení třídy jsou na hlavách šroubů pro snadnou identifikaci. Běžné třídy ISO zahrnují 4.6, 8.8, 10.9 a 12.9. Stupeň 8.8 je běžný středně pevný šroub, zatímco 10.9 a 12.9 jsou vysokopevnostní a používají se v náročných oblastech, jako jsou automobily a stavebnictví. Normy ASTM jako A307 a A325 také definují výkon šroubu. Výběr bezpečného šroubu se šestihrannou hlavou správné třídy je klíčem k bezpečnosti, protože zajišťuje, že šroub zvládne zatížení bez selhání.
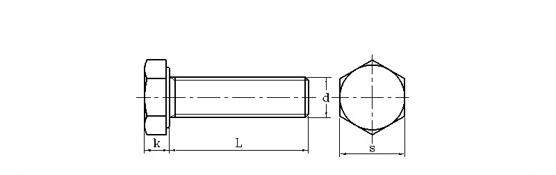
| mm | |||||||
| d | S | k | d | Vlákno | |||
| max | min | max | min | max | min | ||
| M3 | 5.32 | 5.5 | 1.87 | 2.12 | 2.87 | 2.98 | 0.5 |
| M4 | 6.78 | 7 | 2.67 | 2.92 | 3.83 | 3.98 | 0.7 |
| M5 | 7.78 | 8 | 3.35 | 3.65 | 4.82 | 4.97 | 0.8 |
| M6 | 9.78 | 10 | 3.85 | 4.14 | 5.79 | 5.97 | 1 |
| M8 | 12.73 | 13 | 5.15 | 5.45 | 7.76 | 7.97 | 1.25 |
| M10 | 15.73 | 16 | 6.22 | 6.58 | 9.73 | 9.96 | 1.5 |
| M12 | 17.73 | 18 | 7.32 | 7.68 | 11.7 | 11.96 | 1.75 |
| M14 | 20.67 | 21 | 8.62 | 8.98 | 13.68 | 13.96 | 2 |
| M16 | 23.67 | 24 | 9.82 | 10.18 | 15.68 | 15.96 | 2 |
| M18 | 26.67 | 27 | 11.28 | 11.7 | 17.62 | 17.95 | 2.5 |
| M20 | 29.67 | 30 | 12.28 | 12.71 | 19.62 | 19.95 | 2.5 |
Můžete vysvětlit materiálové složení a možnosti ochrany proti korozi pro vaše bezpečné šrouby s šestihrannou hlavou?
Naše šestihranné šrouby vyrábíme z různých materiálů, jako je nízkouhlíková ocel, pevnější legovaná ocel a nerezová ocel (A2-304 a A4-316). Pro ochranu proti rzi nabízíme povrchové úpravy, jako je elektrogalvanický zinek, žárové zinkování a Dacromet. Na výběru správného povlaku záleží, jak dlouho šroub vydrží, zejména na náročných místech, jako jsou staveniště nebo blízko moře.
